Crimping Type Copper Connectors 
In Line Connectors 
- MANUFACTURED FROM PURE ELECTROLYTIC COPPER.
- COPPER LUGS & CABLE TERMINALS FROM 2.5 TO 1000 MM2 WITH DIFFERENT STUD HOLE SIZES AS REQUIRED.
- LEAD FREE ELECTRO TIN PLATED TO PREVENT ATMOSPHERIC CORROSION.
- CABLE LUGS ARE FULLY ANNEALED TO GUARANTEE OPTIMUM DUCTILITY.
|
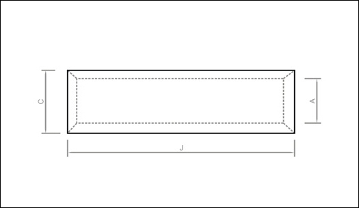
| CRIMPING TYPE COPPER IN LINE CONECTORS |
| |
| CAT.NO |
AREA MM2 |
DIMENTIONS (MM2) |
| A |
C |
J |
| ZCC-450 |
1.5 |
1.6 |
3.2 |
7 |
| ZCC-453 |
1.5 |
1.6 |
3.2 |
15 |
| ZCC-451 |
2.5 |
2.4 |
4.0 |
7 |
| ZCC-454 |
2.5 |
2.4 |
4.0 |
15 |
| ZCC-452 |
4.6 |
3.5 |
5.5 |
7 |
| ZCC-455 |
4.6 |
3.5 |
5.5 |
15 |
| ZCC-456 |
10 |
4.4 |
6.2 |
9 |
| ZCC-460 |
10 |
4.4 |
6.2 |
20 |
| ZCC-461 |
16 |
5.6 |
8.0 |
23 |
| ZCC-484 |
25 |
7.5 |
11.1 |
11 |
| ZCC-486 |
25 |
7.5 |
11.1 |
25 |
| ZCC-485 |
35 |
9.0 |
12.6 |
12 |
| ZCC-487 |
35 |
9.0 |
12.6 |
27 |
| ZCC-480 |
50 |
10.5 |
14.1 |
38 |
| ZCC-478 |
70 |
12.0 |
16.0 |
18 |
| ZCC-481 |
70 |
12.0 |
16.0 |
42 |
| ZCC-482 |
95 |
13.5 |
18.1 |
48 |
|
|
Please contact us for all your needs of Crimping Type Copper In Line Connectors at best prices from india. We are the biggest Indian manufacturers exporters of Crimping Type Copper In Line Connectors
|